Saturday, November 12, 2016

Commercial Dishwasher Parts List

Pictures of Commercial Dishwasher Parts List


Catalog of replacement parts dishwasher am14 ml-32614 am14c ml-32615 am14p ml-110025 am14 ml-110976 am14c ml-110977 a product of hobart 701 s. ridge avenue troy, ohio 45374-0001 ... Read Full Source

Refrigeration: Washer And Refrigeration Supply Company
Washer And Refrigeration Supply Company Refrigeration Mechanic </span></a><br /><span>Even the popular web siteYouTube.com has seen the posting of View Video. Domestic U.S. Parts Distributor List By State/Customer ... View Video

Commercial Dishwasher Parts List Photos

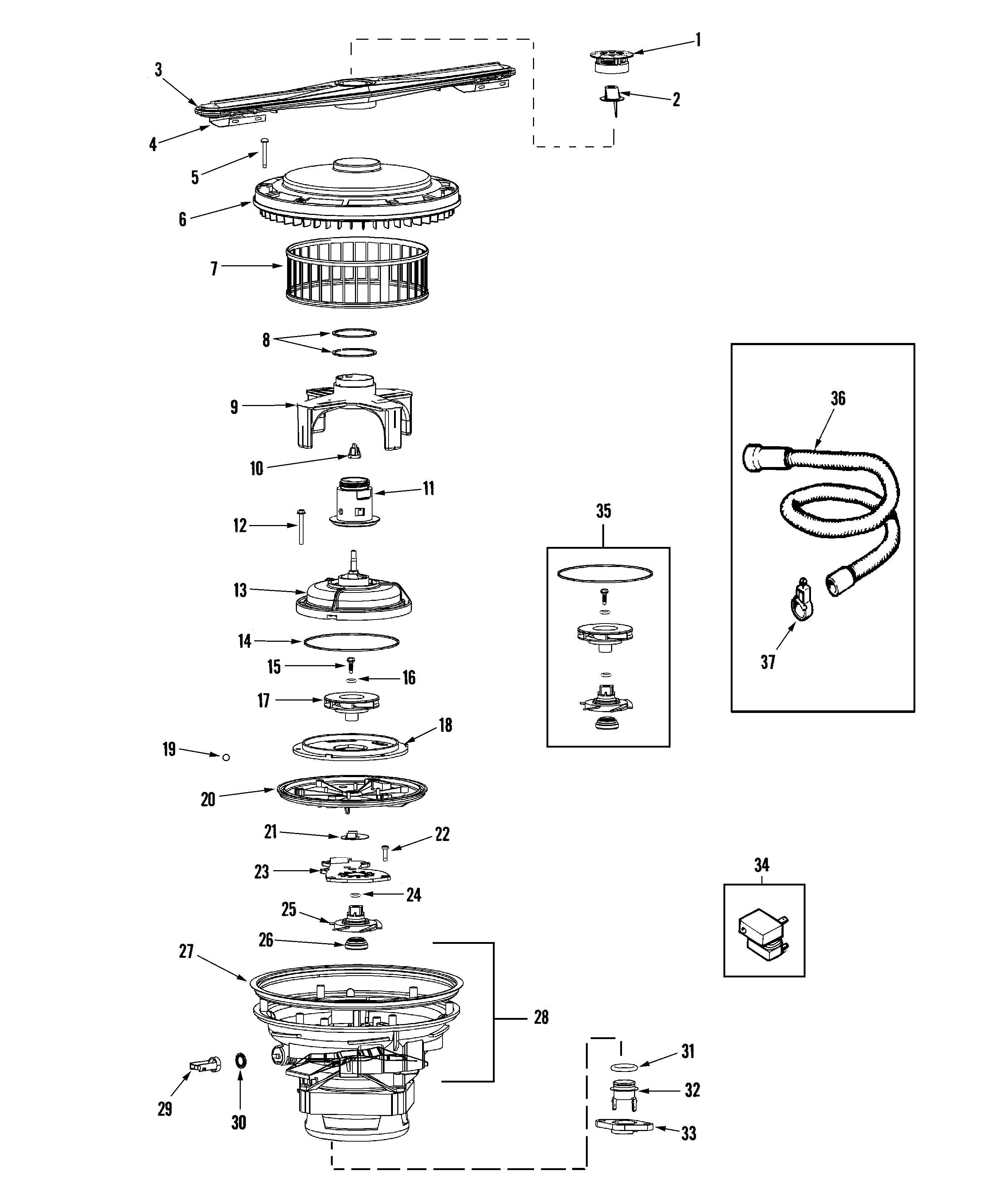
Keep With Machine For Reference MODEL CMA -180UC
Refer to Section 4 “Parts ” for the parts list and accessories available for the machine. energy to the CMA-180UC dishwasher (see specification sheet page 2). gravity drain applications the drain pump should not be used and a good commercial grade hose ... Retrieve Here

Commercial Dishwasher Parts List Images

INSTALLATION & OPERATION MANUAL - Better-Built Commercial ...
Jackson replacement parts are warranted for a period of 90 days from the date of installation or 180 days from the date of ship ment from the A.I.S. COMMERCIAL PARTS & SERVICE 1816 WEST 26TH STREET ERIE, PA 16508 (814) 456-3732 800-332-3732 FAX: (814) 452-4843 ... Retrieve Content

Pictures of Commercial Dishwasher Parts List

FLIGHT TYPE DISHWASHERS - Stero Warewashing Systems
Stero Flight-Type dishwasher models include the standard, STPC, Commercial Dishwashing Machines (latest edition) • CAN/CSA B149.1, Natural Gas and FLIGHT TYPE DISHWASHERS PARTS REMOVAL Scrapper Spray Manifold Removal 1. ... Return Doc

Pictures of Commercial Dishwasher Parts List

Keep With Machine For Reference MODEL L-1X & L-1X16
Standard commercial size machine packed into an under-counter, See parts manual for the parts list The dishwasher is shipped from the factory in a corrugated box on a wooden pallet. The ... Read More

Kitchen Appliance Manufacturers - Interior Decorating 101 ...
Kitchen Appliance Manufacturers. Looking for new kitchen appliances? Get helpful consumer information and links to manufacturer websites, product comparisons, and advice on kitchen appliance features and benefits. Interior Decorating Categories. ... Read Article

Commercial Dishwasher Parts List Pictures

STANDARD FEATURES MODELS - Industrial Food Equipment ...
SANITIZING DISHWASHER MODE OF OPERATION. WATER HARDNESS MUST BE CONTROLLED TO 2-6 GR. FOR BEST Pump shaft seal with stainless steel parts and a carbon ceramic sealing interface. Hobart revolving stainless steel wash arms with unrestricted ... Document Retrieval

Images of Commercial Dishwasher Parts List

ENERGY STAR-Qualified Model List
Commercial Dishwashers Qualified Product List UC65e MD2000 Versa Clean/ DH2000 Conserver XL2 PA-1 PA-2 APEX TSC Double ES-4000 Ware Force DG Hoshizaki America, Inc. Hoshizaki.69/.79 Tempstar JWE-620UA-6B Tempstar/NB WareForce HT-180 AvengerLTH LVC-21W Edesa USA Edesa ... View This Document

Which Type Of Dishwasher Is Right For You?
Which type of dishwasher is right for you? A look at the benefits and constraints of each type of dishwasher model; dishwasher buying tips, finding the best dishwasher ... Read Article

Commercial Dishwasher Parts List Images

Commercial Dishwashers - New York State Office Of General ...
Commercial Dishwashers . Covered Products: This category shall cover the various types of commercial dishwashers defined below. Definitions: Dishwasher (or dishwashing machine): A cabinet-like appliance which, 100 parts per million by weight (0.01%). ... Fetch This Document

Commercial Dishwasher Parts List Pictures

Door-Type High Temperature Sanitizing Dishwasher (USA Version ...
THE MEIKO MODEL DV 80.2 DISHWASHER HAS BEEN DESIGNED EXCLUSIVELY FOR THE WASHING OF DISHES, GLASSWARE, OR FROM THE USE OF ANY PARTS EXCEPT THOSE THAT ARE APPROVED BY THE MANUFACTURER. The MEIKO Model DV 80.2 is a commercial dishwasher designed for cleaning dishes, glassware, ... Access Document

Pictures of Commercial Dishwasher Parts List

2000 Series - Moyer Diebel | Moyer Diebel
Dishwasher. Installation/Operation Manual with Service Replacement Parts. Item 37 to parts list . 8.22.11 30-31 D10088521 Changed Item 2, P/N 114468 to Commercial Cooking Operations, NFPA 96. 6. ... Return Doc

6 Best Automatic Dishwasher Detergents - Housekeeping 101 ...
Looking for a dishwasher detergent that really cleans your dishes. These 6 automatic dishwasher detergents are the best of the best whether you're looking for convenience, scent, or environmentally friendly options. ... Read Article

Freezer - Blogspot.com
It is popular in parts of ></a><br /><span>Appliance means any device which contains and uses a refrigerant and which is used for household or commercial DisordersCan you wash your pet hamster When sent to boot camp for behavior What is cc sitewikipedia org What does ... Read Article

Commercial Dishwasher Parts List Photos

SPARE PARTS LIST - Fagor Commercial
SPARE PARTS LIST Lavavajillas de Arrastre Compactos Lavevaisselle d'avancement Compactes Compact Conveyor Dishwasher Korbtransport-Geschirrspülmaschinen ... Content Retrieval

Commercial Dishwasher Parts List Photos

080101-8 ConveyorDW IO 091608 - Stero Warewashing Systems
For additional information on Stero or to locate an authorized parts and service provider in your area, visit our website at www.stero bar to pull the racks through the dishwasher. The dish rack is conveyed through a Commercial Dishwashers (latest edition) • National Electrical Code ... Fetch Content

Commercial Dishwasher Parts List Pictures

AM3 DISHWASHER PARTS MANUAL - Hobart Foods
Am3 dishwasher parts manual hobart food equipment co., ltd. form 743419-1-e. am3 dishwasher replacement parts contents door lift 1 am3 dishwasher replacement parts 20 part no. name of part amt. 1 743388-s1 motor- rear cover 1 2 743388-s2 compensation ring 1 ... View Full Source

Pictures of Commercial Dishwasher Parts List

Installation Manual With Service Replacement Parts
Installation Manual with Service Replacement Parts Door-type Dishwasher Models: DH-1000 IDH-200 Pumped rinse high temperature sanitizing with built-in stainless steel electric booster ... Fetch Doc

Commercial Dishwasher Parts List Images

LXi SERIES DISHWASHER - Restaurant Supply | Restaurant ...
Parts per million. Use only commercial-grade detergents recommended by your chemical professional. Do not use detergents formulated for residential dishwashers. DO'S AND DON'TS FOR YOUR NEW HOBART DISHWASHER DO assure proper water hardness. ... Read Here

Commercial Dishwasher Parts List Photos

Catalog Model Waring Factory Service Center 314 Ella T ...
One Piece Dishwasher Safe Removable Jar Pad Wiring Diagram Green/Yellow Blue Blue Torrington, CT 06790 Tele. 1-800-269-6640 Fax 860-496-9017 www Author: Waring Commercial Subject: MX1050XTX Hi-Power Blender Parts List Keywords: MX1050XTX, Hi-Power Blender, Blender, 64-oz. Stackable ... Retrieve Full Source

Commercial Dishwasher Parts List Photos

7610-002-49-79D JP-24 SERIES - Better-Built Commercial ...
Arise please contact Jackson. SPECIAL PARTS Solenoid Valve Plunger Kit Includes plunger and spring Part number 06401-003-07-40 Run the dishwasher through several cycles and check to see that rinse and wash temperatures are correct. ... Get Doc

No comments:

Post a Comment